Korpus Ausstattung
Korpus Ausstattung
|
Ø Bohrung |
Raster Lochreihenbohrung |
Einrückung (Lochreihenabstand von vorne) |
Ausführung |
|
|
3 mm |
32 mm |
Standardkorpus: 37 mm Dachschräge: 50 mm Korpusse mit Tiefe <= 200 mm: 27 mm |
Die Lochreihenbohrung wird in den Bereichen Mittelboden, Kreuzmontageplatte und Ladenzone ausgesetzt |
|
|
5 mm |
32 mm |
|||
|
ohne Bohrung |
|
Produkt |
Beschreibung |
Fachboden Einrückung |
Lochreihen-bohrung |
Montage |
|
|
Tablarverbinder Ixconnect Rasant-Tab |
Lässt Fachböden durch schräg zulaufende Kontaktflächen der Verbinderkomponenten formschlüssig an Seitenwand anliegen. Schöne Optik im eingebauten Zustand, da nur die kleine Grundplatte des Trägerteils sichtbar ist. |
10 mm |
5 mm |
Schraubmontage |
![]() |
|
Produkt |
Beschreibung |
|
|
Dübel |
Dübel vorbeleimt |
|
|
Lamello Clamex P-10 |
Lösbare Verbindungsbeschläge mit kleinster Bedienöffnung. |
|
|
Lamello Tenso P-10 mit Vorspannfunktion |
Unsichtbarer selbstspannender Verbinder zum Verleimen. |
![]() |
|
Produkt |
Sockelfuß Höhe (mm) |
Höhenverstellbereich (mm) |
|
|
Schraubbarer Sockelverstellfuß aus Kunststoff |
60 |
50 – 80 |
![]() |
|
80 |
70 – 100 |
||
|
100 |
90 – 120 |
||
|
120 |
110 – 140 |
||
|
150 |
140 – 170 |
|
Einsatz |
Produkt |
Ausführung |
|
|
Schrankaufhänger |
Schrankaufhänger SAH 216 |
Belastbarkeit 55 kg, integrierte Tiefenverstellung max. 25 mm |
|
|
Aufhängeschiene Typ L |
![]() |
||
|
Unterschrankaufhänger |
CAMAR 801 |
Belastbarkeit 85 kg / Stück, Verstellmöglichkeit: Höhe 22 mm, Tiefe 19 mm |
|
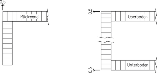
Ausprägungen Ober-/Unterboden, Rückwand
Skizze Ansicht vorne und seitlich
|
Einschlagend |
|
|
Durchgehend |
|
|
Traverse liegend einschlagend * je 150 mm ab einer Korpustiefe von 400 mm möglich |
* Bei „Traverse liegend einschlagend“ werden ein einschlagender Unterboden sowie eine 8 mm Rückwand (Böden stumpf, Seiten genutet) verbaut
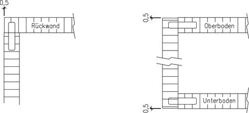
Skizze Ansicht vorne und seitlich
|
Einschlagend |
|
|
|
|
Skizze Ansicht oben und seitlich
|
Böden stumpf, Seiten genutet |
|
|
|
|
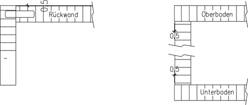
| Böden und Seiten stumpf | |
| Böden und Seiten genutet | |
|
Unterboden und Seiten genutet, Oberboden stumpf |
Skizze Ansicht oben und seitlich
|
Böden und Seiten stumpf |
|
|
|
|
| Böden und Seiten stumpf verdübelt (Frontluft 2 mm) | |
| einschlagend und verdübelt (0,5 mm Einrückung) |
Erweiterte Korpus-Ausstattung
|
Übermaß hinten |
Übermaß unten |
||
|
links |
rechts |
links |
rechts |
|
|
|
|
|
|
Übermaß oben |
Übermaß Front |
||
|
links |
rechts |
oben |
unten |
|
|
|
|
|
Frontbeschläge
Skizze Ansicht vorne
|
Frontanschlag Links |
Frontanschlag Rechts |
|
|
|
|
Produkt |
Beschreibung |
Einsatz |
|
|
Blum TIP-ON |
|
für grifflose Fronten |
![]() |
|
Blum CLIP top BLUMOTION 110° / 155° mit Kreuzmontageplatte |
|
Frontbeschlag für sanftes und leises Schließen |
![]() |
|
Möbelpuffer |
Anschlagpuffer aus Kunststoff |
für den Anschlag von Fronten |
![]() |




Klappen für Hängeschränke
AVENTOS unterstützt bei der Montage durch viele integrierte Funktionen wie Sicherheitslösung oder Öffnungswinkelbegrenzer. Auch im täglichen Gebrauch öffnen und schließen selbst große und schwere Klappen fühlbar leichter.
|
System |
Produkt |
Beschreibung |
Korpushöhe |
Lichte Mindesttiefe |
|
|
Klappensystem |
Blum AVENTOS HK top |
Klappe für Ober- und Hochschrank |
205 - 600 mm |
235 mm |
|
|
Blum AVENTOS HK-S Small |
180 - 600 mm |
163 mm |
|||
|
Blum AVENTOS HK-XS |
240 - 600 mm |
125 mm |
|||
|
Hochliftsystem |
Blum AVENTOS HL |
die einteilige Front wird parallel zur Korpusfront nach oben bewegt |
300 - 580 mm |
278 mm |
|
|
Hochfaltklappe |
Blum AVENTOS HF |
zweiteilige Fronten werden beim Öffnen in der Mitte zusammengefaltet |
480 - 1.040 mm |
278 mm |
|
|
Hochschwenkklappe |
Blum AVENTOS HS |
Oberschrank (wenn Platz), auch mit Kranzleisten und Wangen, große, einteilige Fronten |
350 - 800 mm |
276 mm |
|
Produkt |
Beschreibung |
|
|
Seilzugklappenhalter |
|
![]() |
Schiebetüren
|
Produkt |
Ausführung |
Montage |
|
|
Hawa Clipo 26/36 H Inslide (IS) |
Laufwerk mit Kugellager:
|
Einfache Montage mit werkzeugloser Clip-Technik und komfortabler Höhenjustierung. |
|
|
Hettich Topline XL |
Für deckenhohe, großformatige Schiebetürschränke.
|
Einfache Montage durch Clip-Technik. |
![]() |
Apothekerschrank
|
Produkt |
Ausführung |
Systemkomponenten |
|
|
Hochschrankauszug Dispensa |
|
Vollauszugsbeschlag Dispensa VVS |
|
|
Tragrahmen Dispensa: höhenverstellbarer Tragrahmen mit Rastverbindungstechnik |
![]() |
||
|
Einhängekorb Dispensa |
![]() |
||
|
Einhängekorb Comfortline |
![]() |
Eckschrank
|
Produkt |
Ausführung |
Montage |
|
|
Eckschrank-Schwenkauszug LeMans II |
Auszug mit zwei Arenaplus-Classic-Tablare mit Rutschstopp. Richtung links ausschwenkend = Montageart rechts Richtung rechts ausschwenkend = Montageart links |
Das Tablare ist durch das Rastersystem in eingebautem Zustand höhenverstellbar. |
Kühlschrank
|
Produkt |
Ausführung |
Montage |
|
|
Blum Modul-Kühlschrank-Schlepptürscharnier 95° |
|
Vorteile:
|

Laden
|
Ladentyp |
Lade mit Frontbefestigung |
Innenlade ohne Front |
Innenlade ohne Front |
|
Unterbodenführung |
C-Grifffräsung |
"Englischer Zug" |
|
|
inkl. Frontbefestigung von BLUM |
Größe Griff: B 140 x H 25 mm Ohne Griff |
||
|
Seitliche Zargenhöhe |
39 – 503 mm (in 16 mm-Schritten) |
||
| Ausführung | Oberfläche lackiert, Ladenboden 6 mm Sperrholz, inkl. vormontierter Blum Kupplung | ||
|
Holzart |
Ahorn |
Ahorn |
Ahorn |
|
Buche |
Buche |
Buche |
|
|
Eiche |
Eiche |
Eiche |
|
|
Eiche rustikal |
Eiche rustikal |
Eiche rustikal |
|
|
Nuss amerikanisch |
Nuss amerikanisch |
Nuss amerikanisch |
|
|
Fichte |
Fichte |
Fichte |
|
![]() |
![]() |
||
|
Produkt |
Beschreibung |
|
|
Blum MOVENTO BLUMOTION S |
In Höhe und Neigung sowie seitlich und in der Tiefe einstellbar. Ein exaktes Fugenbild kann schnell, einfach und werkzeuglos erreicht werden |
|
|
Blum Frontverstellbeschlag |
zur Frontverstellung an Holzladen |
|
Produkt |
Beschreibung |
Farbe |
Reling |
|
|
Blum TANDEMBOX antaro |
Hoher Bewegungskomfort, schwebeleichter Lauf und dynamische Belastbarkeit von 30 kg oder 65 kg. |
Weiss |
< 220 mm Fronthöhe ohne Reling < 300 mm mit Reling Höhe C |
|
|
Blum TANDEMBOX antaro Innenauszug |
||||
|
Blum LEGRABOX pure |
Klare Linienführung und schlichtes Zargendesign. Innen und außen gerade 12,8 mm schlanke Seitenwände. |
Weiß Oriongrau |
Innenlade mit Querreling |
|
|
Blum LEGRABOX pure Innenlade |
Zubehör
- Griffe
- Kleiderhalterungen
- Beleuchtung und Elektro
- Tisch- und Bank-Untergestell
- Bohrlehren für Montage von TIP-ON
- Küchenausstattung
- Reiniger
- Praktische Montagehilfen






Durchgehend
Unterboden stumpf, Oberboden und Seiten genutet
Böden und Seiten stumpf verdübelt




















